液壓系統中用到的液壓比例閥很多,我們是專業做液壓馬達的,大家肯定比我們都清楚,我在這里再跟大家好好學習下液壓比例閥。
一、概述
電液比例閥是一種按輸入的電氣信號連續地、按比例地對油液的壓力、流量或方向進行
控制的液壓閥。與手動調節的普通液壓閥相比,它能提高系統參數的控制水平。與電液伺服
閥相比,雖在某些性能方面稍稍遜色些,但它的結構簡單,成本較低,所以被廣泛應用于要
求對液壓參數進行連續控制或程序控制,但對控制精度和動態特性要求一般的液壓系統中。
電液比例閥按控制功能可以分為:電液比例壓力閥、電液比例流量閥、電液比例方向閥
和電液比例復合閥(如比例壓力流量閥);按液壓放大級的級數可以分為:直動式和先導
式;按閥內級間參數是否有反饋可以分為:不帶反饋型和帶反饋型。帶反饋型又分為流量反
饋、位移反饋和力反饋。也可以把一些反饋量轉換成電量后再進行級間反饋,又可構成多種
形式的反饋型比例閥,如位移電反饋、流量電反饋等。
二、比例閥的結構
比例閥結構主要有電·機械轉換器(比例電磁鐵)和閥兩部分。比例閥有開環控制的,
也有閉環控制的。
比例電磁鐵是在傳統濕式直流閥用開關電磁鐵基礎上發展起來的。目前所應用的耐高壓直流比例電磁鐵具有圖6-49a所示的盆式結構。
圖6-49 比例電磁鐵結構與特性
a)結構圖b)特性曲線
l-推桿2一殼體3-線圈4-銜鐵5-軸承環6-隔磁環7-導套8-限位片9-極靴
I一吸合區 Ⅱ一工作行程區 Ⅲ一空行程區
由于磁路結構的特點,使之具有如圖6. 49b所示的幾乎水平的電磁力一行程特性,這有助于閥的穩定性。圖6—49所示的電磁鐵的輸出是電磁推力,故稱為力輸出型,還有一種帶位移反饋的-FM位置輸出型比例電磁鐵,如圖6-50所示。后者由于有銜鐵位移的電反饋閉環,因此當輸入控制電信號一定時,不管與負載相匹配的比例電磁鐵輸出電磁力如何變化,其輸出位移仍保持不變。所以它能抑制摩擦力等擾動影響,使之具有極為優良的穩態控制精度和抗干擾特性。
圖6-50帶位移反饋比例電磁鐵
與電液伺服閥相似,控制比例閥的比例放大器也是具有深度電流負反饋的電子控制放大器,其輸出電流和輸入電壓成正比。比例放大器的構成與伺服放大器也相似,但一般要復雜一些,如比例放大器一般均帶有顫振信號發生器,還有零區電流跳躍(比例方向閥)等功能。
(一)比例壓力閥
1.直動式比例壓力閥
用比例電磁鐵取代壓力閥的手調彈簧力控制機構便可得到比例壓力閥,如圖6-51所示。圖6-51a所示的比例壓力閥采用普通力輸出型比例電磁鐵1,其銜鐵可直接作用于錐閥4。圖6-51b所示的則為位移反饋型比例電磁鐵,必須借助彈簧轉換為力后才能作用錐閥4進行壓力控制。后者由于有位移反饋閉環控制,可抑制電磁鐵內的摩擦等擾動,因而控制精度顯著高于前者,當然復雜性和價格也隨之增加。這兩種比例壓力閥,可用作小流量時的直動式溢流閥,也可取代先導式
溢流閥和先導式減壓閥中的先導閥,組成先導式比例溢流閥和先導式比例減壓閥。
b、
圖6-51直動式比例壓力閥
a)普通比例電磁鐵控制b)帶位移反饋比例電磁鐵控制
1-比例電磁鐵2-推桿3-彈簧4-錐閥
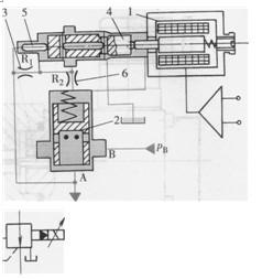
2.先導式比例壓力閥
圖6-52為兩個應用輸出壓力直接檢測反饋和在先導級與主級間動壓反饋的比例壓力閥。
兩種閥的先導閥心4均為有直徑差的二節同心滑閥,大、小端面積差與壓力反饋推桿5面積相等,穩態時動態阻尼孔R2兩側液壓力相等,先導閥心大端受壓面積(大端面積減去反饋推桿面積)和小端受壓面積相等,因而先導閥心兩端靜壓平衡。
圖6-52a和圖6-52b的主閥結構與傳統先導式溢流閥和減壓閥相同,均有A、B兩通口。
如前所述,傳統先導式壓力閥的先導閥控制的是主閥上腔壓力,先導閥所受彈簧力和主閥上腔壓力相平衡,當流量變化引起主閥液動力的變化以及減壓閥進口壓力pB變化時會產生調壓偏差。而圖6-52所示的先導式壓力閥,若忽略先導閥液動力、閥心質量和摩擦力等影響,其輸入電磁力主要與輸出壓力pA作用在反饋推桿上的力相平衡,因而形成反饋閉環控制,當流量和減壓閥的進口壓力變化時控制輸出壓力pA均能保持恒定。
所謂級間動壓反饋原理是,主閥心運動時在動態阻尼孔R2兩端產生的壓差作用在先導
閥心兩端面,經先導閥的控制對主閥心的運動產生阻尼作用。應用此原理的比例壓力閥動態
圖6-52先導式比例壓力閥
a)溢流閥b)減壓閥
i-比例電磁鐵2-主閥心3、6-不可調節流閥4-先導閥心5一壓力反饋推桿
穩定性顯著提高,不會出現傳統壓力閥易產生的振蕩和嘯叫現象。同時改變動態阻尼孔R:
孔徑,可調節閥的快速性而對閥的穩態性能無任何影響。
要說他們兩個有什么關系,那只能說都是液壓產品,只要做液壓的,很多的兩個都要用到,都要了解。
本文標題:
液壓比例閥和液壓馬達的關系
分類:
液壓行業知識
標簽:
液壓馬達