銷售部電話:0574-86660066 18958227999 公 司 傳 真 :0574-86656036 技術部總機:18067350051 液壓系統設計部:18968963166 24小時售后服務熱線:18657460055 網址: www.weideen.cn 郵箱:sales@tilorms.com 地址:寧波市鎮海區通和路6號泰勒姆斯
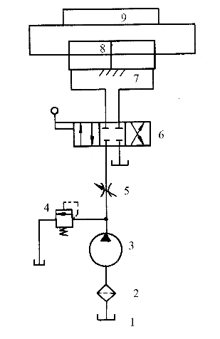
圖1.2所示的液壓傳動系統工作原理圖較直觀、容易理解,但圖形較復雜,難以繪制。在實際工作中,常用圖形符號來繪制,如圖1.3所示。圖形符號不表示元件的具體結構,只表示元件的功能,使系統圖簡化,原理簡單明了,便于閱讀、分析、設計和繪制。
圖1.3液壓傳動系統圖形符號圖
1-油箱;2-濾油器;3-液壓泵;4一心溘流閥;5-節流閥;6-換向閥;7-液壓缸;8-活塞;9-工作臺