快速運動回路又稱增速回路,其功用在于使液壓執行元件獲得所需的高速,縮短機械空程運動時間,以提高系統的工作效率。實現快速運動隨方法不同可有多種結構方案。下面介紹幾個常用的快速運動回路。
(一)液壓缸差動連接回路
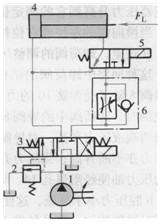
圖9-8所示為利用液壓缸差動連接來實現快速運動的回路。當閥3和閥5左位接入時,液壓缸差動連接作快進運動。當閥5電磁鐵通電,差動連接即被切斷,液壓缸回油經過單向調速閥6,實現工進。閥3右位接入后,缸快退。這種連接方式,可在不增加泵流量的情況下提高執行元件的運動速度。但是,泵的流量和有桿腔排出的流量合在一起流過的閥和管路應按合成流量來選擇,否則會使壓力損失增大,泵的供油壓力過高,致使泵的部分壓力油從溢流閥溢回油箱而達不到差動快進的目的。
(二)雙泵供油回路
圖9-9所示為雙泵供油快速運動回路,圖中1為大流量泵,2為小流量泵,在快速運動時,泵l輸出的油液經單向閥4與泵2輸出的油液共同向系統供油;工作行程時,系統壓力升高,打開液控順序閥3使泵1卸荷,由泵2單
圖9-8液壓缸差動連接回路
1-液壓泵2-溢流閥3-三位四通電磁換向閥4-液壓缸5-=位三通電磁換向閥 6-單向調速閥
獨向系統供油,系統的工作壓力由溢流閥5調定。單向閥4在系統工進時關閉。這種雙泵供油回路的優點是功率損耗小,系統效率高,因而應用較為普遍。
(三)用增速缸的快速運動回路
圖9-10所示為采用增速缸的快速運動回路。當三位四通換向閥左位接入回路時,壓力油經增速缸中的柱塞的通孔進入B腔,使活塞快速伸出,速度為穢=4q,/-nd2(d為柱塞外徑),
圖9-9雙泵供油回路
1-大流量泵2-小流量泵3-順序閥4-單向閥5-溢流閥
B
圖9-10用增速缸的快速運動回路
l-增速缸2–位四通換向閥3-液控單向閥4-順序閥
A腔中所需油液經液控單向閥3從輔助油箱吸人。活塞2伸出到工作位置時,由于負載加大,壓力升高,打開順序閥4,高壓油進入A腔,同時關閉單向閥3。此時活塞桿在壓力油作用下繼續外伸,但因有效面積加大,速度變慢而推力加大,這種回路常被用于液壓機的系統中。
(四)采用蓄能器的快速運動回路
圖9-lla所示為一種使用蓄能器來實現快速運動的回路,其工作原理如下:當換向閥5處于中位時,液壓缸6不動,液壓泵1經單向閥3向蓄能器4充油,使蓄能器儲存能量。當蓄能器壓力升高到它的調定值時,卸荷閥2打開,液壓泵卸荷,由單向閥保持住蓄能器壓力。當換向閥的左位或右位接入回路時,泵和蓄能器同時向液壓缸供油,使它得到快速運動。在這里,卸荷閥的調整壓力應高于系統工作壓力,以保證泵的流量全部進入系統。
這種回路中卸荷閥的結構是專門設計的(見圖9-llb),它與一般先導式壓力閥不同。其導閥8除了受彈簧10的力和b腔處液壓力作用外,還要承受柱塞7的推力。當蓄能器開始充油時,卸荷閥中的導閥8和主閥12都處于關閉位置,油腔a和b處的壓力都等于泵壓,柱塞兩端液壓力平衡,對導閥不產生推力。隨著進入蓄能器油液的不斷增多,油腔a和b中的壓力亦不斷升高;當壓力升高到b腔的液壓力能克服導閥彈簧力,將導閥打開時,P口處來的壓力油便經阻尼孔14、導閥閥口、主閥中心孔13和通口T流回油箱。由于阻尼孔的作用,b腔壓力小于泵壓,這使主閥閥口打開,泵開始卸荷。此時b腔壓力小于a腔壓力。柱塞便對導閥施加一額外的推力,促使導閥和主閥的閥口都開得更大,結果使b腔壓力下降到零,柱塞處于其最上端位置。由于a腔的工作面積比b腔大,因此蓄能器中的壓力即使因泄漏而有所下降,卸荷閥仍能使泵處于卸荷狀態。蓄能器所能達到的最高壓力由調節螺釘9調定。
圖9-11 采用蓄能器的快速運動回路
a)回路圖b)卸荷閥結構
1-液壓泵2-卸荷閥3-單向閥4-蓄能器5—換向閥6-液壓缸7-柱塞 8-導閥9-調節螺釘10-導閥彈簧11-主閥彈簧12 -主閥13-中心孔14-阻尼孔
這種快速運動回路適用于短時內需要大流量、又希望以較小流量的泵提供較高速度的快速運動場合。但是系統在其整個工作循環內必須有足夠長的停歇時間,以使液壓泵能對蓄能器充分地進行充油。
本文標題:
液壓馬達的快速運動回路
分類:
液壓行業知識
標簽:
液壓馬達